Forgive this seemingly "troll-ish" question, but I must lack the ability to understand how one byte (two nibbles, eight bits, however you wish to describe it) can hold 256 different states, possibilities, values or such.
First of all, one bit would look like this:

Any way of being able to input two states (in the poor example above, two separate circuits at different voltages can be treated logically as "yes" or "no").
So if one bit is two possible states, multiplication factors yield that by two:
Bit = 2 values
Two bits = 4 values
Three bits = 6 values
Four bits = 8 values
Five bits = 10 values
Six bits = 12 values
Seven bits = 14 values
Eight bits = 16 values
In total, I get a sum of sixteen values multiplying the factors by two for every increasing bit. How would it make sense that one byte can hold 256 different values in a circuit?
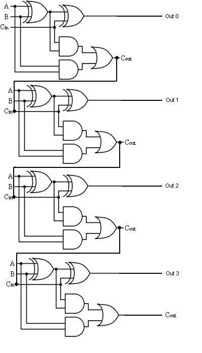
In a four bit adder, we'd have something like this:

This also yields 8 possible values. How would it get 128? Could anyone clarify this confusion??
NOTE: This doesn't have to just apply to adders circuits with transistors and logic gates, but to the pits and lands on an optic disc, the platter representation of data on a disk drive, flash drive binary storage, RAM, anything. I just want to know how increasing factors of two is multiplied by (seemingly) powers thereof.
